
工業廢水處理、生活廢水處理、醫療廢水處理以及市政污水處理、農村污水處理、地埋式污水處理設備、渦凹氣浮機、溶氣氣浮機、格柵機、自動加藥機、一體化污水處理設備廠家設備就找青島樂中環保科技有限公司。
今天樂中環保科技要分享的是擴散板曝氣氣浮~
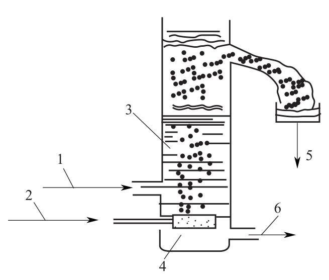
曝氣氣浮一般采用鼓風機將空氣直接送至氣浮池充氣器,形成細小氣泡進入污水中。充氣器一般用擴散板、穿孔板或微孔管等,曝氣壓力在1kg/cm2,空氣量2-3m3/m3水。擴散裝置的微孔不宜過小,否則易于堵塞;而微孔板孔徑過大,必須投加表面活性劑,方可形成可利用的微小氣泡,從而導致該種方法使用受到限制。近年研制、開發的彈性膜微孔曝氣器克服了擴散裝置微孔易堵或孔徑大等缺點。擴散板曝氣氣浮示意圖見下圖。
環保工程師聯系電話:
15244289576 韋工程師

